Komponentinė vaizdo jungtis, 1 modulis, įstrižas išvadas, kaip 1:1 jungtis, dažytas aliuminis

Art. Nr. 6105156 | EAN 4012195899464

„Cinch“
Prekės aprašymas
Prekės aprašymas
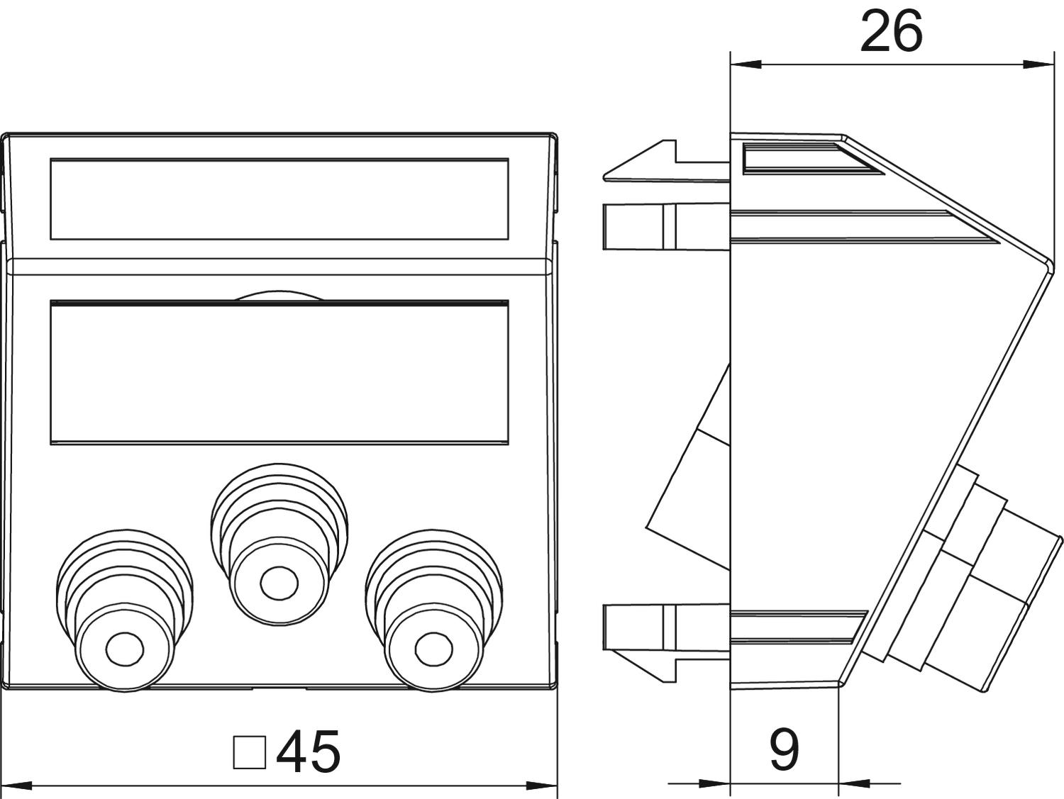
Multimedijos Video lizdas su trimis jungtimis, įstrižas išvadas, žymėjimo laukelis, trys „jungtis-jungtis“ modelio lizdai (RCA), spalvinis kodas: raudona / žalia / mėlyna. Laikiklis su fiksavimo įtaisu, skirtu horizontaliai ir vertikaliai prietaisų instaliacijai sistemos aplinkoje.
Įrengimui „Rapid 45“ ir „Rapid 80“ prietaisų instaliaciniuose kanaluose, instaliacinėse kolonose ir pogrindinėse sistemose.

  • CO₂ pėdsakas (PCF)
Techniniai duomenys

Techniniai duomenys

Apsaugos nuo laidų ištraukimo galimybė ne
Apsaugos rūšis IP20
Aukštis 45 mm
Be halogenų taip
Blokų skaičius 1
CO2₂ pėdsakas (GWP) nuo lopšio iki vartų 0,0443 kg CO2e / 1 Vienetas
Dydis 45x45mm
Gylis 26 mm
Jungimas Bazinis elementas su centrine dengiančia plokštele
Laikomasis žiedas ne
Medžiaga Polikarbonatas
Naudojimas „Cinch“
Paviršiaus konstrukcija matinis
Permatomas ne
Plotis 45 mm
Sietyno gnybtas ne
Spalva lakuoto aliuminio
Su apsauga nuo dulkių ne
Su viršuje išspausdintu užrašu ne
Tvirtinimo būdas užfiksuoti
Užvožiamasis dangtelis ne
Visi tipai

Visi tipai

Tipas Išėjimo angos kryptis Naudojimas Spalva Art. Nr. Kiekis mažiausias parduodamas kiekis
MTS-3R F RW1 - „Cinch“ baltas; RAL 9010 6105150
1 Vienetas
MTS-3R F SWGR1 įstrižas „Cinch“ juodai pilkas; RAL 7021 6105153
1 Vienetas
MTS-3R F AL1 - „Cinch“ lakuoto aliuminio 6105156
1 Vienetas
Atsisiuntimai

Atsisiųsti

Nėra šio gaminio aprašymų