- Prekės aprašymas
-
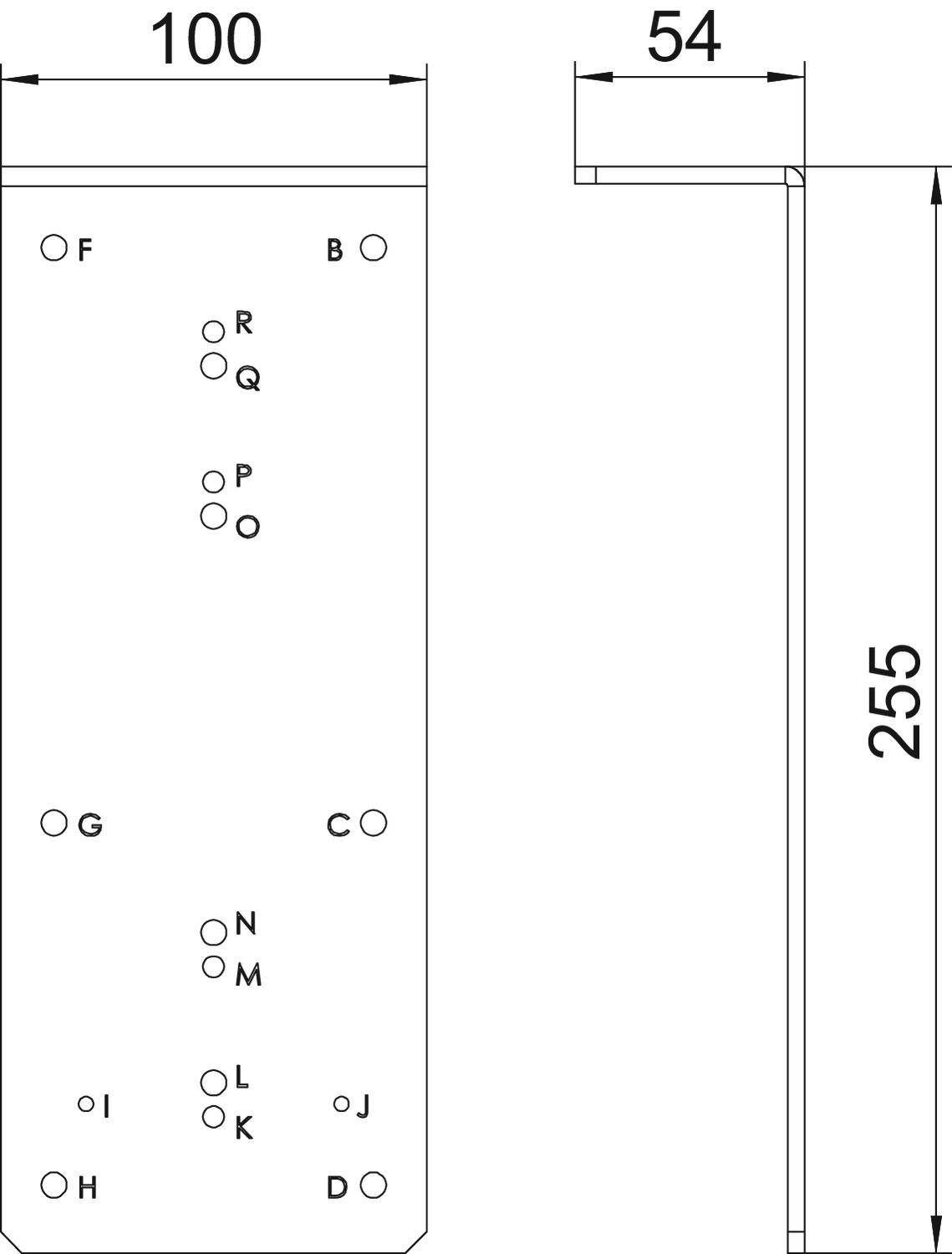
Prekės aprašymasGręžimo šablonas, skirtas skylėms gręžti vietoje. Naudojant šabloną galima pažymėti šias skyles.
- Jungčių skylės jungčių jungtims
- Tvirtinimo angos galinėms detalėms
- Tvirtinimo angos atraminiams elementams
- Tvirtinimo angos fiksavimo elementams dangtyje
-
- Techniniai duomenys
-
Techniniai duomenys
atsiejami taip CO2₂ pėdsakas (GWP) nuo lopšio iki vartų 2,9582 kg CO2e / 1 Vienetas Dangtelio tvirtinimas fiksuojant ne Mažiausias liejamų grindų aukštis 85 Medžiaga Plienas Montavimo angos dangtelis ne Nuimama viršutinė dalis taip Pagrindo plokštė taip Pagrindo priežiūra sausas Paviršius cinkuotas juostiniu būdu Su iškyša taip Su potencialų išlyginimu ne Su prijungimo anga ne Tarpiklio įmontavimo galimybė ne Tinka išsiplėtimo siūlei ne Tinka pogrindiniam kanalui su dekoratyvine danga ne Tinka užbetonuojamam atviram pogrindiniam kanalui taip Tinka užbetonuojamam uždaram pogrindiniam kanalui ne - Visi tipai
- Atsisiuntimai
-
Duomenų lapas OKB BS BL / 7403883 , 0.16MB , pdfREACH Atitikties deklaracija OKB BS BL / 7403883 , 0.12MB , pdfRoHS Atitikties deklaracija OKB BS BL / 7403883 , 0.13MB , pdfMontavimo instrukcija OKB-U ir OKB-E montavimo instrukcija , 1.30MB , pdfMontavimo instrukcija Montavimo instrukcijos, gręžimo šablonas OKB BS BL , 0.62MB , pdfNėra šio gaminio aprašymų
Lietuva - Lietuvių Kalba